内控网|深耕企业内控,聚力同行共研精进✨专注企业内控·精选核心学习资讯✨💡夯实专业知识·助力职场稳步进阶✨💬深度专业交流·实操经验互鉴✉...
2026-02-07 3589
强监管态势下,又有券商连收多张罚单。
日前,浙江证监局下发多张监管函,剑指中银证券(11.360, -0.03, -0.26%)杭州环球中心证券营业部合规管理不到位、绍兴迪荡湖路证券营业部基金销售业务负责人未取得基金从业资格等问题,另有中银证券4名相关问题责任人和当事人被监管“点名”。
除了连收罚单外,业绩下滑、独立董事违规违纪等诸多问题或也让中银证券“头疼”。中银证券2024年中报显示,公司上半年营收、净利均出现同比下滑。
多张罚单“刷屏”
10月22日,浙江证监局连发6张罚单,剑指中银证券两家营业部的违规行为,并“点名”了相关问题责任人和当事人。

浙江证监局表示,经查,中银证券绍兴迪荡湖路证券营业部存在两项违规情形。具体来看,一是指定兼职合规人员代为履行分支机构负责人职务、代为履职事项未按规定向该局报告;二是基金销售业务负责人未取得基金从业资格。
根据相关规定,浙江证监局决定对中银证券绍兴迪荡湖路证券营业部采取出具警示函的监督管理措施,并记入证券期货市场诚信档案。此外,孙霞作为营业部现任负责人,对上述问题负有直接责任,也被采取了出具警示函的监督管理措施。
与此同时,中银证券杭州环球中心证券营业部也被查出了违规行为,且违规时长竟长达5年,跨越了两任营业部负责人的任期。
经查,2017年1月至2022年5月期间,中银证券杭州环球中心证券营业部多名员工的直系亲属证券账户在营业部供客户使用的交易电脑上存在委托下单记录,其中部分员工存在使用上述账户替客户办理证券认购、交易的行为。该营业部长期未关注该异常情形,对交易电脑缺乏有效管控,对员工行为缺乏有效监督,反映出营业部合规管理不到位。
根据相关规定,浙江证监局决定对中银证券杭州环球中心证券营业部采取责令改正的监督管理措施,并记入证券期货市场诚信档案。刘向领作为营业部时任负责人,对上述问题负有直接责任,被证监局采取了责令改正的监督管理措施。此外,根据相关规定,丁卓作为营业部现任负责人,管晓琳作为涉事当事人,都被监管采取了出具警示函的监督管理措施。
业绩严重下滑
对于这次中银证券的一系列罚单,黑崎资本首席战略官陈兴文认为,这在某种程度上揭示了证券行业合规管理的深层次问题。这些问题不仅涉及具体的违规行为,更反映出整个证券行业在合规文化、管理机制和监管执行等方面的系统性缺陷。
除了连收罚单外,业绩下滑、独立董事违规违纪等诸多问题也让中银证券“头疼”。
业绩方面,中银证券近期发布的2024年中报显示,公司上半年营业收入、净利均出现同比下滑。具体来看,中银证券2024年上半年实现营业收入12.46亿元,同比下降21.74%,实现归母净利润4.24亿元,同比下滑34.25%。

对此,中银证券在半年报中解释道,受市场环境、市场交易活跃度等因素影响,投行业务、经纪业务收入同比下降。此外,2023年上半年公司营业收入中包含促进金融业发展财政扶持奖励资金1.12亿元,基数较高。
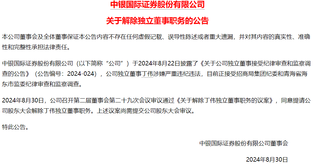
记者注意到,中银证券还存在独立董事因违规违纪而变动的情况。

8月21日,中银证券发布公告称,公司通过中央纪委国家监委网站获悉,公司独立董事丁伟涉嫌严重违纪违法,目前正接受招商局集团纪委和青海省海东市监委纪律审查和监察调查。10日之内,中银证券迅速召开相关会议,同意提请公司股东大会解除丁伟独立董事职务。
对此,中银证券强调,丁伟除担任中银证券独立董事、董事会薪酬与提名委员会主任委员、董事会审计委员会委员外,未担任公司其他任何职务,不参与公司日常经营管理。该事项不会对公司经营发展、财务状况及偿债能力产生影响。
除了独立董事之外,中银证券董事也出现了变动。8月30日,中银证券公告称,近日分别收到董事祖宏昊、文兰递交的辞呈。祖宏昊因工作安排原因申请辞去公司第二届董事会董事、薪酬与提名委员会委员职务;文兰因工作安排原因申请辞去公司第二届董事会董事、战略与发展委员会委员职务。
公开资料显示,中银证券于2002年2月28日在上海成立,2020年2月26日在上海证券交易所主板上市,注册资本27.78亿元。中银证券主要股东包括:中银国际控股有限公司、中国石油(8.440, -0.04, -0.47%)集团资本有限责任公司、上海金融发展投资基金(有限合伙)、云南省投资控股集团有限公司等。
监管“长牙带刺”
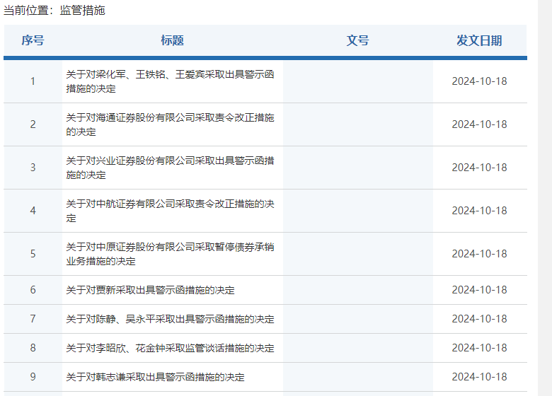
近期,证监会下发了一连串罚单,落实“长牙带刺”强监管效果显著。
仅10月18日一天,证监会就在官网一口气公布了19张罚单,涉及中信建投(25.900, -0.20, -0.77%)、海通证券(11.910, -0.07, -0.58%)、银河证券、光大证券(17.340, -0.06, -0.34%)、兴业证券(6.320, -0.05, -0.78%)、中航证券、中原证券(4.420, -0.02, -0.45%)、开源证券、东北证券(7.600, -0.03, -0.39%)等多家券商,以及申万宏源(5.270, -0.02, -0.38%)承销保荐、东方证券(10.500, -0.11, -1.04%)承销保荐2家公司。


同日,证监会还通报了证券公司投行业务内部控制及廉洁从业专项检查情况。
证监会表示,从检查情况看,通过近年来持续从严监管,大部分证券公司较为重视投行内控基础制度建设,由业务部门、质量控制、内核合规构成的“三道防线”内控体系运行总体有效,项目执业质量水平有所提升。但是个别证券公司仍存在投行内控把关不严等问题,一些项目尤其是债券承销项目尽调核查工作不到位,没有全面落实勤勉尽责的要求。
针对检查发现的问题,证监会表示,坚持“穿透式监管、全链条问责”和机构、人员“双罚”的原则,抓住公司高管等“关键少数”,根据问题的轻重,依法分类采取措施。
具体来看,对违规问题多、情节严重的开源证券、中原证券采取暂停公司债券承销业务6个月的行政监管措施,要求公司全面整改,切实吸取教训;对11家公司视违规问题情节轻重分别采取监管谈话、责令改正、出具警示函等行政监管措施,要求针对性解决尽调、内控短板问题。同时,证监会还对43名直接责任人员及负有管理责任的人员分别采取了监管谈话、责令改正、出具警示函等行政监管措施。
“近期证券行业罚单频发,这有力地释放了诸多信号。”财经评论员张雪峰向记者表示,一方面,监管趋于严格,罚单“刷屏”意味着监管机构对证券行业的监督正趋于常态化、系统化和严厉化。监管机构对违规行为采取“零容忍”态度,表明合规与风控在行业中的重要性正在显著提升。另一方面,行业趋于规范,高频的处罚力度和广泛的覆盖范围预示着监管层将进一步推动行业的合规化和透明化,促进行业健康发展,维护市场秩序。
排排网财富研究部副总监刘有华则认为,证券行业罚单“刷屏”,彰显了监管部门对证券市场的严格监管态度,释放了监管加强的信号。同时,监管部门也在通过强化执法力度和精细化处罚来提升证券行业整体合规水平和风险防控能力的决心。
在陈兴文看来,强监管态势下,券商需要加强内部管理,提高合规意识,确保业务操作的合规性,而监管机构应继续加大监管力度,对违法违规行为进行严厉查处,维护市场秩序,保护投资者的合法权益。同时,相关机构还需加强投资者教育,提高投资者的风险识别和防范能力,共同促进证券行业的健康发展。
记者:陆怡雯
编辑:陈偲
来源:国际金融报
近期课程安排:
《国际注册内部控制师CICS资格认证》网络课程学习班:
报名链接:https://www.neikong.com/s/pc/#/course/detail/1527212/1473841/info?parentId=905884
报名电话:400-098-1119 15810764339(微信同号)
联 系 人:孙老师、邱老师
报名咨询二维码 :

相关文章
内控网|深耕企业内控,聚力同行共研精进✨专注企业内控·精选核心学习资讯✨💡夯实专业知识·助力职场稳步进阶✨💬深度专业交流·实操经验互鉴✉...
2026-02-07 3589
内控领域的同仁挚友:岁序更替,华章日新。值此辞旧迎新之际,向每一位深耕内控赛道、坚守合规初心的同行者,致以最诚挚的新年祝福!内控是企业稳健发展的基石,...
2026-01-01 2100
余杭:文旅集团运用"三流合一"思维做优内审项目 2025年,杭州余杭文化旅游投资集团(以下简称该集团)在下辖杭州余杭农业...
2025-12-26 1586
淳安农商行导入舞弊三角理论强化员工审计监督 舞弊三角理论是由美国注册舞弊审核师协会创始人史蒂文·阿伯雷齐特提出。他认为,企业舞弊产生的原因是...
2025-12-17 896
临平:东湖街道导入全要素管理法强化“三资”审计监督 2025年以来,杭州市临平区人民政府东湖街道办事处(以下简称该街道)在陈家木桥经联社和泉...
2025-11-22 785
近年来,杭州市余杭区鸬鸟镇人民政府(以下简称该镇)在鸬鸟镇前庄村“一肩挑”干部经济责任审计等项目中,探索运用“三全”策略,即审计内容“全覆盖”、质量管...
2025-10-27 588
近年来,杭州市余杭区径山镇人民政府(以下简称该镇)在径山村“一肩挑”干部经济责任审计等项目中,探索采取“三会”机制,即进点会、诊断会、研判会,着力发...
2025-09-25 538
2024年是上市公司内部控制规范体系全面实施的开局之年。近日发布的《中国上市公司内部控制白皮书(2025年)》(下称《白皮书》)表示,上市公司内部控制...
2025-07-07 781